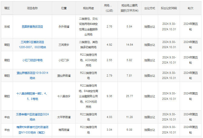
新京报贝壳财经讯(记者袁秀丽)4月20日,北京市规划和自然资源委员会网站发布了2026年第三轮拟供应商品住宅用地清单,共涉及6宗地,土地面积约17公顷,建筑规模约26万平方米,拟于近期供应。从区域分布来看,中心城区共有3宗,涉及丰台区和石景山区,副中心及平原多点地区共有3宗,涉及通州区、顺义区和大兴区。
最受关注的是丰台区蒲黄榆一里、四里危改项目,该地块位于丰台区东铁匠营街道,二环至三环之间,邻近地铁5号线与14号线换乘站蒲黄榆站。周边有NTP新城广场、GOGO新世代商业中心、北京中医药大学东方医院方庄院区、天坛公园、方庄体育公园等生活配套设施。

丰台区蒲黄榆一里、四里危改项目地块。北京市规划和自然资源委员会官微截图
另一宗丰台地块为桥南城中村改造项目FT00-1507-9001地块,位于丰台区丰台街道,三环至四环之间,邻近地铁10号线泥洼站、9号线丰台东大街站、10号线与16号线换乘站丰台站。周边有金唐新光界、丽泽天地、解放军总医院第五医学中心(南院区)、庄怡公园等生活配套设施。
石景山区黄庄村43号院棚户区改造项目1622-002、2501-002地块,位于石景山区八宝山街道,四环至五环之间,邻近地铁1号线八宝山站、玉泉路站。周边有永辉广场、万达广场、清华大学玉泉医院、调色板公园、旺景公园、北京国际雕塑公园等生活配套设施。
通州区推出老城棚户区改造项目九棵树南地块FZX-0302-6016地块,位于通州区九棵树街道,五环至六环之间,邻近地铁八通线九棵树站。周边有北京通州领展广场、北京中医药大学东直门医院、通州云景公园等生活配套设施。
顺义区推出高丽营镇夏县营村棚户区改造土地开发项目01-008、016、026-1、020地块,位于顺义区高丽营镇,六环外,周边有南朗中休闲公园等生活配套设施。此外,大兴区推出黄村镇三合庄改造土地一级开发项目DX00-0202-0188地块,位于五环至六环之间,邻近地铁4号线大兴线清源路站。周边有新辰天地购物中心、中国中医科学院广安门医院(南区)、兴旺公园等生活配套设施。
北京市规划和自然资源委员会表示,本轮继续坚持“以需定供”原则,注重区域间合理布局,兼顾刚性和改善性住房需求。

北京市规划和自然资源委员会网站截图
编辑 岳彩周
校对 柳宝庆












